Nintendo запатентовала способ запускать свои игры на смартфонах
Хотя продажи портативных игровых консолей и игр к ним падают, в то время как продажи смартфонов и планшетов растут, компания Nintendo никогда не была сторонником портирования своих игр на мобильные платформы. Но, по всей видимости, ситуация меняется.
На протяжении долгих лет многие обозреватели игровой индустрии, а также инвесторы интересовались у Nintendo, почему компания не издаёт свои популярные игры на платформах Apple iOS и Google Android, продажи устройств на базе которых на порядки превышают продажи консолей DS, 3DS и 2DS вместе взятых. Руководство компании справедливо отвечало, что наличие игр Nintendo на сторонних устройствах ещё более навредит продаже консолей самой компании, а потому подобный бизнес весьма рискован.
Nintendo GameBoy. Фото с сайта galleryhip.com
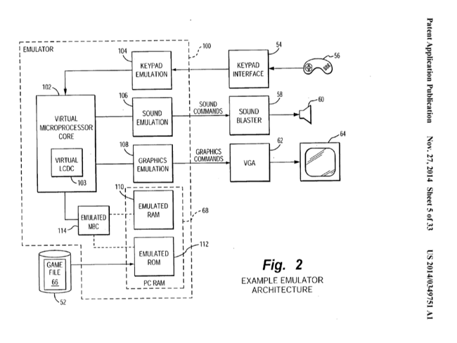
Тем не менее, в июне этого года Nintendo запатентовала способ эмуляции консолей GameBoy на платформах вроде смартфонов, плееров или систем развлечения в самолётах или поездах. Подобное действие может свидетельствовать либо о том, что отношение Nintendo к сторонним платформам меняется, либо о том, что компания решила всерьёз бороться с неофициальными эмуляторами GameBoy для Apple iOS (требуется взлом телефона), Google Android и Windows Phone (доступны в официальных магазинах).
Разные версии консолей GameBoy выпускались с 1989 по 2003 год. Учитывая развитие современных технологий, эмуляция подобных устройств под силу даже самым дешевым смартфонам. Как следствие, Nintendo может неплохо подзаработать, если выпустит соответствующий эмулятор и будет официально продавать свои игры на смартфонах.
Выдержка из патента Nintendo
Если Nintendo всерьёз решила предлагать свои игры на мобильных платформах, то можно ожидать, что через некоторое время компания запатентует эмулятор своих более новых платформ, таких как DS, 3DS и 2DS. Поскольку игры для платформ последних поколений визуально более привлекательны, чем игры для GameBoy, то они имеют больше шансов привлечь к себе массовых пользователей. Тем не менее, в среде хардкорных игроков найдётся немало тех, кто хотел бы иметь коллекцию классических игр Nintendo из серий Pokemon, Super Mario или Zelda на своих мобильных устройствах.
К сожалению, официально Nintendo не комментирует свои планы касательно мобильных платформ, поэтому делать какие-либо выводы из наличия у компании патента довольно преждевременно.
Интересно отметить, что Sony, которая несколько лет назад пыталась продвинуть свои классические игры для PlayStation на смартфоны и планшеты, в итоге отказалась от проекта.
Источник:
Если вы заметили ошибку — выделите ее мышью и нажмите CTRL+ENTER.
Материалы по теме
Виджет от SocialMart
© 3DNews
