Будущие поколения iPhone получат динамики нового типа
На это косвенно указывает свежий патент Apple.
В рамках модернизации системы воспроизведения аудио в новых моделях iPhone компания не ограничится отказом от 3,5-миллиметрового разъема для наушников, как сообщили на прошлой неделе китайские поставщики компании.
Специалистам Apple, похоже, удалось найти компромисс при неизбежном выборе между малой толщиной устройства или большими динамиками для более качественного звука.
Новый патент Apple, опубликованный Американским бюро по патентам и торговым маркам (USPTO), описывает технологию повышения качества воспроизведения и уровня громкости за счет использования встроенных динамиков нового типа.

Принцип оптимизации звука при сохранении компактности устройства достаточно прост. Все внутреннее пространство корпуса смартфона будет представлять собой единую акустическую систему, а в роли ее отдельных элементов будут задействованы как динамики, так и микрофоны.
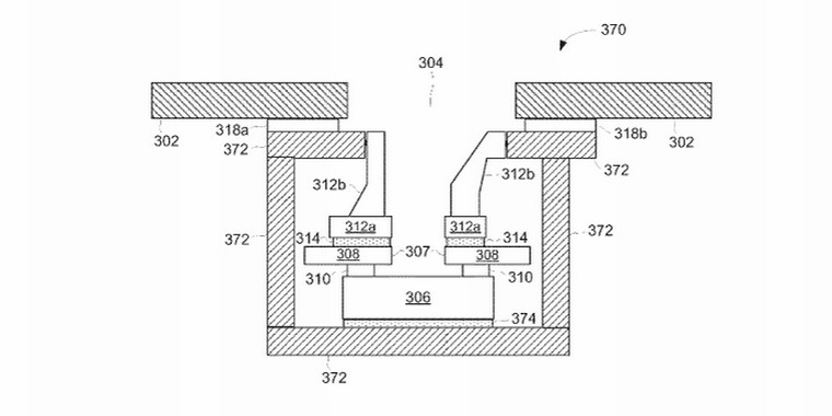
Патент представляет два вариант создания такой системы. В первом аудиоэлемент будет установлен в непосредственной близости с промежуточной структурой (например, гибкой подложкой), пропускающей через себя звук.

Акустическая камера в другой конфигурации направляет аудиосигнал между внешней стенкой корпуса и гибкой электронной подложкой. Звуковой элемент в этом случае крепится непосредственно на нее. Таким образом, внутренние компоненты смартфона (та же материнская плата) выполняют функции части динамика. [9to5Mac]
