Samsung готовит новый смартфон, который сможет складываться втрое
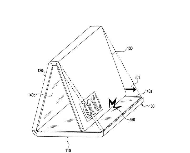
Компания Samsung продолжает эксперименты с трёхсекционными складными смартфонами. Новый патент описывает концепт Galaxy Z TriFold Wide, который отличается более широким форм-фактором.
В сложенном состоянии устройство должно напоминать обычный смартфон, пусть и немного шире, а в разложенном превращаться в полноценный экран планшетного уровня.
Рендер на базе патентного изображения. GrokПервая попытка Samsung в этом сегменте оказалась дорогой и сложной в производстве, однако интерес пользователей оказался высоким: ограниченные партии быстро раскупались, а цены на вторичном рынке росли.
Изображение cdn.prod.website
Изображение cdn.prod.website
Изображение cdn.prod.website
На фоне усиления конкуренции со стороны Huawei и возможного выхода Apple в этот сегмент Samsung пытается превратить экспериментальную идею в массовый продукт.
© iXBT
