Новый смартфон Samsung получит вырезы в дисплее под... кнопки
Последние флагманские смартфоны Samsung имеют едва заметные рамки по бокам изогнутых экранов. На этих рамках располагаются физические кнопки (включения, регулировки громкости и Bixby).
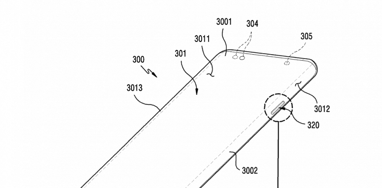
Согласно последним тенденциям, производители двигаются в сторону дальнейшего уменьшения ширины рамок. В новом патенте, который был зарегистрирован компанией Samsung, нам демонстрируют смартфон с сильно изогнутыми боковыми частями дисплея, который имеет вырез в боковой части экрана.
Очевидно, что когда дисплей будет огибать всю боковую часть экрана и доставать до задней панели, места для физических кнопок на корпусе попросту не останется. Поэтому Samsung изучает возможность создания отверстий в дисплее, в которых будут располагаться физические кнопки.

Нет никакой гарантии, что этот патент найдет воплощение в реальном устройстве. Но не сильно удивляйтесь, если именно такое решение будет реализовано в юбилейном Galaxy S10.
Комментировать
© iXBT
