Nokia разрабатывает 3D multi-touch интерфейс
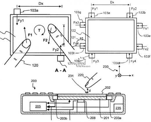
Большинство производителей мобильных устройств создают свои интерфейсы основанные на управлении устройством при помощи пальцев. Не стала исключением и компания Nokia. Лаборатория R&D Nokia разработала и запатентовала 3D мультитач интерфейс, который реагирует не только на перемещение пальцев, но также и на силу нажатия на экран. Технология совмещает в себе емкостной экран и датчики силы нажатия на экран. Таким образом, система получает два сигнала: направление перемещения параллельно экрану и силу давления на экран. Как утверждают разработчики, данная технология позволит управлять устройством используя меньшее количество повторяющихся действий (например переходов на более глубокие уровни меню). О сроках появления устройств, использующих новую технологию, пока не сообщается.
© hpc.ru
