Новый сервис Microsoft облегчит миграцию на Windows Phone с других платформ
Известно, что одной из основных проблем для пользователей при переходе на другую операционную систему является подбор новых приложений, чья функциональность хотя бы примерно напоминает привычные программы. Особенно это важно в сфере мобильных программных платформ, поскольку здесь именно количество и качество доступных приложений является определяющим фактором при выборе ОС. В связи с этим особый интерес представляет информация о разработке Microsoft нового сервиса, который, как сообщается, должен помочь всем желающим без проблем мигрировать на Windows Phone.
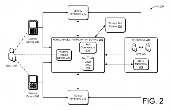
Согласно патентной заявке от ноября 2010 года, сведения из которой приводит Unwired View, указанный сервис позволяет быстро определить, какие приложения установлены на вашем мобильном устройстве (в качестве примера приводится Android-смартфон HTC) и подобрать максимально схожие аналоги в каталоге Windows Phone Marketplace либо, возможно, предложить альтернативные решения. Если искомые приложения в Windows Phone пока отсутствуют, вам будет направлено уведомление в случае их появления.
Кроме того, новый сервис Microsoft предположительно сможет предложить решение для переноса всех данных в приложениях на новую платформу, однако как все это будет реализовано на практике, пока неясно. Напомним, что именно относительно малое количество (по сравнению с Android и iOS) программ сдерживает экспансию Windows Phone, и вышеописанный сервис должен отчасти способствовать решению этой проблемы.
© Ferra.ru

