Intel получил патент на защиту косяков
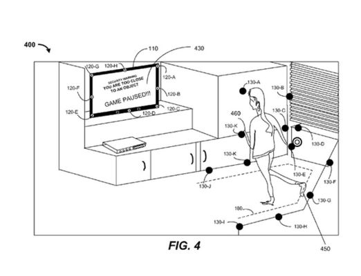
Владельцы игровых приставок Nintento Wii и Xbox 360 c Kinect могут вздохнуть с облегчением – компания Intel решила позаботиться о сохранности их техники, мебели, родственников и других окружающих людей. В США теперь есть патент 8333661 «Игровая Система с Компонентами Безопасности». Она может отслеживать движения игрока, а также местоположение и перемещения объектов вокруг него.
Новая система будет представлять собой устройство, состоящее из сенсоров и многоядерного процессора. Описывается, что оно работает вместе с игровой приставкой и следит за происходящим. Если игрок приближается на опасное расстояние и может столкнуться с чем-нибудь, система сигнализирует об этом посредством звука и поставит игру на паузу. Задумка Intel вполне понятна, но, если обдумать вышеописанное, можно обрести некоторые сомнения – ведь если, например, резко махнуть рукой, то нужно обладать просто фантастической реакцией, чтобы успеть остановиться и не заехать этой самой рукой по чему-нибудь.
Тем более, когда человек играется, его внимание направлено на экран, а не на безопасность своих движений – примеров тому полно, и уже куча детей получила по голове от мамы. Будем надеяться, что Intel учел это, и окружение любителей помахать Wii Remote действительно обретет спокойствие.
© Ferra.ru

