Huawei изобрела дистанционную беспроводную зарядку
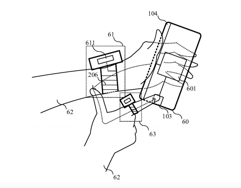
Согласно патентной документации, технология позволяет передавать энергию между передающим и принимающим электродом, которые находятся на расстоянии друг от друга. Для других технологий беспроводной зарядки необходимо, чтобы две катушки были расположены прямо друг напротив друга. Расстояние между ними должно быть совсем небольшое.
Это обстоятельство создаёт ограничения для использования беспроводной зарядки. Huawei пытается эти ограничения обойти.
В патенте компании сказано, что новая технология может использовать даже людей, животных и морскую воду, чтобы через них проходил заряд.
Поскольку это лишь патент, пока неясно, реализует ли Huawei технологию в каком-то будущем устройстве.
© Ferra.ru
