Новые BlackBerry получат скроллер и видоизмененную клавиатуру
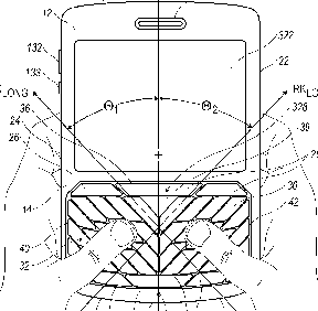
Популярный ресурс MobileWhack опубликовал схематичное изображение нового коммуникатора BlackBerry, который находится в процессе создания и будет выпущен в следующем году. Как видно на изображении, основным отличием от прежних моделей станет форма и расположение клавиш. Кнопки имеют вытянутую прямоугольную форму и расположены под углом. Дизайнеры RIM полагают, такой подход сделает процесс ввода текста быстрее и удобнее. И с этим трудно не согласиться. Кроме того, сообщается, что в дополнение к удобной клавиатуре новинка получит скроллер, выполненный по образу и подобию ролика у слайдера LG Shine. Не исключено, в таком форм-факторе выйдет сразу несколько моделей для разных категорий пользователей.
© hpc.ru
