Apple пытается запатентовать стеклянный iPhone
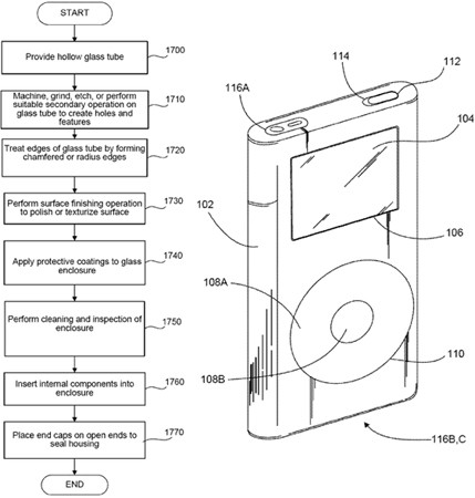
Компания Apple подумывает о создании наследника iPhone в полностью стеклянном корпусе. Об этом стало известно из патентной заявки, которую компания подала в Американскую комиссию по патентам и торговым маркам (USPTO). В заявке описывается портативное устройство в корпусе, либо сделанном из цельной стеклянной трубки, либо склеенном из двух стеклянных пластин. Не обязательно, чтобы весь корпус был прозрачным, но весь - из стекла. Разумеется, это ещё только патент, и он ещё даже не получен, но ведь и первая информация об iPhone просочилась за пределы Apple благодаря патентной заявке на "телефон с нарисованными кнопками". Иллюстрация к патенту содержит в качестве примера стеклянное устройство, сильно напоминающее один из первых плееров iPod, но это не более, чем попытка конспирации. В патентной заявке ясно говорится, что материал такого корпуса должен быть способен пропускать радиосигналы. То есть, речь идёт о новом устройстве связи.

Иллюстрация к новому патенту Apple
Интересно, что современные технологии уже позволяют воплотить устройство, описанное в патентной заявке Apple. Некоторые современные разновидности стекла превосходят по прочности материалы, использующиеся для изготовления корпусов типичных смартфонов. Правда стоит такое стекло дороже, но в случае с Apple это не так уж и важно. Зато стеклянный корпус можно сделать бесшовным и герметичным. Ну, и смотреться такое устройство будет инновационно.
© Ferra.ru
