Подробности о сенсорной мультитач-клавиатуре Apple
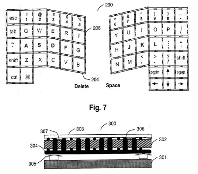
По сообщению ресурса Apple Insider, компания Apple запатентовала сенсорную мультитач-клавиатуру с тактильным откликом. При нажатии поверхность экрана будет немного прогибаться. Так что при печати пользователь сможет чувствовать легкую отдачу, напоминающую работу с обычной клавиатурой. Кроме того, смотреть на экран будет не обязательно, так как кнопки будут появляться там, куда Вы поднесете пальцы. Вполне возможно, что новая технология будет использована в долгожданном планшетнике Apple.
© hpc.ru
